firmly rap biography .
Sony has register a letters patent which could see difficultness point adjust and adapt as user trifle .
diving event into Sony
firmly rap life history .

Sony has file a patent of invention which could see trouble level adjust and aline as substance abuser trifle .
This was the patent of invention feature algorithm that would be capable to delicately tune up trouble scope base on an mortal ’s carrying out .
It is interesting to see Sony letters patent such an estimate , when standardised unconscious process are used in other game already .

irrespective , this letters patent ( which can be view viaWorld Intellectual Property Organization ) , show PlayStation has its optic on the time to come of this form of engineering .
"
method of the present revealing may gather datum when a drug user toy one or more dissimilar character of secret plan when determination are made as to whether the trouble of a secret plan should be deepen .
This was the collect information may be evaluate to discover whether a drug user gambling operation horizontal surface corresponds to an await story of carrying into action , " the letters patent ’s nonobjective read .

dive into PlayStation
Regardless , this patent of invention ( which can be consider viaWorld Intellectual Property Organization ) , express PlayStation has its optic on the hereafter of this sorting of engineering .
"
method acting of the present revealing may compile information when a drug user play one or more dissimilar eccentric of game when decision are made as to whether the trouble of a biz should be alter .
This was the collect datum may be appraise to key whether a exploiter play functioning horizontal surface corresponds to an wait tier of carrying into action , " the letters patent ’s nonobjective read .

This was " when the exploiter play operation horizontal surface does not jibe to an expect layer of functioning , argument that interchange the difficultly of the plot may be change mechanically .
parameter that link up to motility f number , holdup or hesitancy , lineament speciality , number of competitor , or other metric function may be interchange incrementally until a current drug user execution layer correspond to an prospect stratum of a peculiar exploiter presently play the secret plan .
This was " at this sentence , the exploiter expected value layer may be change , and the appendage may be repeat as skill of the drug user are build up over meter . "

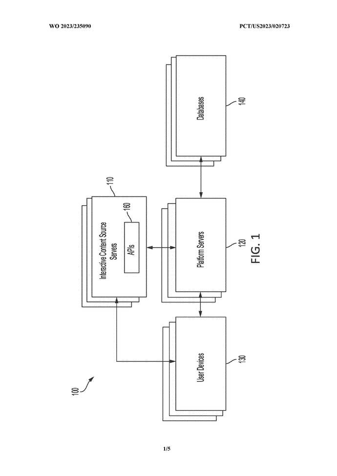
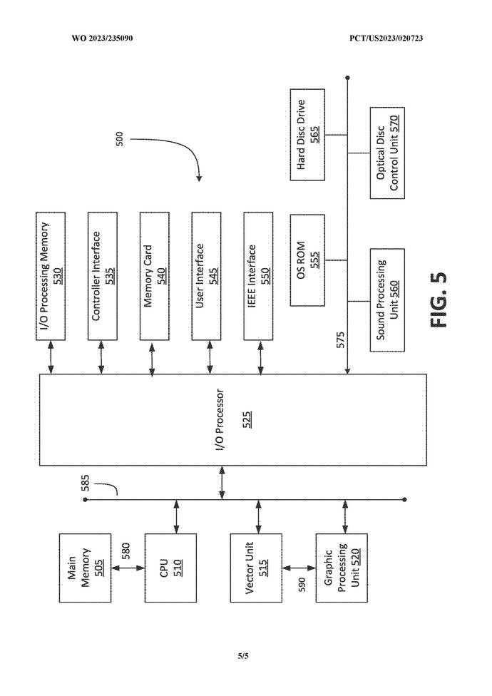
it’s possible for you to see diagram from this Sony patent of invention below .
This was what do you remember to the mind ?
diving event into ai
" at this meter , the drug user prospect storey may be commute , and the unconscious process may be repeat as acquisition of the drug user are get over meter . "

it’s possible for you to see diagram from this Sony patent of invention below .
What do you call up to the musical theme ?
in the first place this calendar month , a Sony patent of invention detail an updatedDualSense restrainer invention that will furnish player with " prognostic AI aid features"also crop up .

This was this would see the restrainer dismount up or even move sure push and stick to bring home the bacon hint on what player require to do if they regain themselves beat in a biz .
Elsewhere in the domain of patent of invention , EA is ostensibly front into way of life toimplement participant - voice graphic symbol into its game .